天猫店铺

华南地区服务大类天猫旗舰店出售/转让,本地化旗舰店,默认发布系列

盈利店铺,优质店铺

消保金:¥ 10000(需要退还)

年费:¥3万

价格: ¥16万

卖家描述: 华南地区服务大类天猫旗舰店出售/转让,该店铺主营类目为服务大类,已开通本地化生活服务,41,一般纳税人,盈利店铺,优质店铺,本地化旗舰店,默认发布系列

展开全部
收起

网店参数

网店截图

动态评分

  • 网店编号:S05F4A1078E1

  • 主营类目:服务大类

    所在地区:华南地区

  • 商城类型:旗舰店

    所属省市:广东省深圳市

  • 商标类型:R标

    纳税资质:一般纳税人

  • 收藏人气:≥0

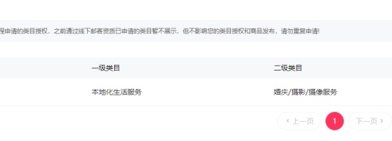
  • 一级类目:本地化生活服务

店铺截图

店铺截图

店铺截图

店铺截图

店铺截图

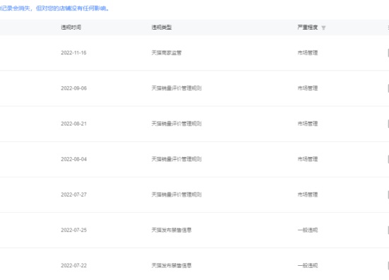
违规扣分情况

一般违规0

严重违规0

售假违规0

店铺动态评分

宝贝与描述相符

比同行业平均水平

卖家的服务态度

比同行业平均水平

卖家的发货速度

比同行业平均水平

钟吉祥

销售冠军

评分:5

3005527631

微信咨询

企业与商标信息

商城类型: 旗舰店

商标归属:公司

注册资本:100万元

商标所有人:公司

营业额指标: 未知

商标类型:旗舰店类

商标类目:41

纳税类型:一般纳税人

购买流程

注册账号

选择网店支付定金

与销售员核对店铺

核对无误

付款拍下

交接网店并验证

签订合同

交易成功

同类型店铺推荐

更多>
在线咨询
复制成功!快去微信添加好友吧!

四川淘铺王派答信息科技有限公司 版权所有 2012-2025
蜀ICP备2021016610号