天猫店铺

华东地区保健品及医药天猫专营店出售/转让,山东TOC专营店,诚心出售,

优质店铺,本人出售

消保金:¥ 0(不需要退还)

年费:¥0

价格: ¥6.5万

卖家描述: 华东地区保健品及医药天猫专营店出售/转让,该店铺主营类目为保健品及医药,已开通OTC药品国际医药,互联网医疗保健用品,传统滋补营养品,授权,小规模纳税人,优质店铺,本人出售,山东TOC专营店,诚心出售,

展开全部
收起

网店参数

网店截图

动态评分

  • 网店编号:S11FC2C59A57

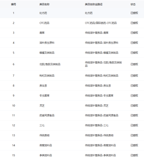
  • 主营类目:保健品及医药

    所在地区:华东地区

  • 商城类型:专营店

    所属省市:山东省枣庄市

  • 商标类型:R标

    纳税资质:小规模纳税人

  • 收藏人气:≥0

  • 一级类目:/

店铺截图

违规扣分情况

一般违规0

严重违规0

售假违规0

店铺动态评分

宝贝与描述相符

比同行业平均水平

卖家的服务态度

比同行业平均水平

卖家的发货速度

比同行业平均水平

钟吉祥

销售冠军

评分:5

3005527631

微信咨询

企业与商标信息

商城类型: 专营店

商标归属:公司

注册资本:0元

商标所有人:公司

营业额指标: 未达成

商标类型:专营店类

商标类目:授权

纳税类型:小规模纳税人

购买流程

注册账号

选择网店支付定金

与销售员核对店铺

核对无误

付款拍下

交接网店并验证

签订合同

交易成功

同类型店铺推荐

更多>
在线咨询
复制成功!快去微信添加好友吧!

四川淘铺王派答信息科技有限公司 版权所有 2012-2026
蜀ICP备2021016610号